
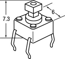
Tactile switch featuring a 12mm x 12mm x 7.3mm footprint with a straight, plunger-style actuator. Offers a 2.55N operating force and 0.3mm switch travel. Rated for 50mA at 24V DC, with gold-plated contacts for reliability. Designed for through-hole mounting with PC pin termination and a mechanical/electrical life of 1,000,000 cycles. RoHS compliant and operates within a -25°C to 70°C temperature range.
Omron B3F-4155 technical specifications.
| Actuator Color | Orange |
| Actuator Length | 3mm |
| Actuator Type | PLUNGER |
| Contact Current Rating | 50mA |
| Contact Material | Gold, Silver |
| Contact Plating | Gold |
| Current Rating | 50mA |
| Depth | 12mm |
| Electrical Life | 1000000Cycles |
| Height | 7.3mm |
| Illumination Type | Non-Illuminated, Illuminated |
| Lead Free | Lead Free |
| Length | 12mm |
| Max Current Rating | 50mA |
| Max Operating Temperature | 70°C |
| Max Voltage Rating (DC) | 24V |
| Mechanical Life | 1000000Cycles |
| Min Operating Temperature | -25°C |
| Mount | Through Hole |
| Number of Poles | 1 |
| Operating Force | 2.55N |
| Orientation | Straight |
| Package Quantity | 100 |
| Packaging | Bulk |
| Ratings | IP00 |
| Reach SVHC Compliant | Unknown |
| RoHS Compliant | Yes |
| Series | B3F |
| Switch Function | Off-Mom |
| Switch Travel | 0.3mm |
| Termination | PC Pins |
| Throw Configuration | SPST |
| DC Rated Voltage | 24V |
| Weight | 0.029983oz |
| Width | 12mm |
| RoHS | Compliant |
Download the complete datasheet for Omron B3F-4155 to view detailed technical specifications.
This datasheet cannot be embedded due to technical restrictions.
