PEMH11; PUMH11 - NPN/NPN resistor-equipped transistors; R1 = 10 kΩ, R2 = 10 kΩ TSSOP 6-Pin
PEMH18; PUMH18 - NPN/NPN resistor-equipped transistors; R1 = 4.7 kΩ, R2 = 10 kΩ TSSOP 6-Pin
PEMH10; PUMH10 - NPN/NPN resistor-equipped transistors; R1 = 2.2 kΩ, R2 = 47 kΩ TSSOP 6-Pin
TRANS 2NPN PREBIAS 0.3W 6TSSOP
PEMH14; PUMH14 - NPN/NPN resistor-equipped transistors; R1 = 47 kOhm, R2 = open TSSOP 6-Pin
Trans Digital BJT NPN 50V 100mA 300mW Automotive 6-Pin TSSOP T/R
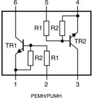
PUMH13 - NPN/NPN double Resistor-Equipped Transistor (RET); R1= 4.7 kΩ, R2 = 47 kΩ TSSOP 6-Pin
PEMH19; PUMH19 - NPN/NPN resistor-equipped transistors; R1 = 22 kOhm, R2 = open TSSOP 6-Pin
NXP, PUMH13,115, Dual NPN Digital Transistor, 100 mA 50 V 4.7 k, Ratio Of 0.1, 6-Pin UMT
PEMH14; PUMH14 - NPN/NPN resistor-equipped transistors; R1 = 47 kOhm, R2 = open