
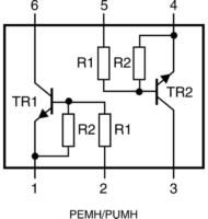
The PUMH13115 is a surface mount NPN transistor with a collector-emitter breakdown voltage of 50V and a saturation voltage of 100mV. It has a maximum collector current of 100mA and a maximum power dissipation of 300mW. The transistor is packaged in a TSSOP package with a height of 1mm, length of 2.2mm, and width of 1.35mm. The operating temperature range is from -65°C to 150°C. The PUMH13115 is lead-free and compliant with standard manufacturing processes.
Checking distributor stock and pricing after the page loads.
Sign in to ask questions about the NXP PUMH13115 datasheet using AI. Get instant answers about specifications, features, and technical details, ideal for finding information in larger documents.
Sign In to ChatWidest selection of semiconductors and electronic components in stock and ready to ship ™
NXP PUMH13115 technical specifications.
| Package/Case | TSSOP |
| Collector Emitter Breakdown Voltage | 50V |
| Collector Emitter Saturation Voltage | 100mV |
| Collector Emitter Voltage (VCEO) | 50V |
| Collector-emitter Voltage-Max | 100mV |
| Emitter Base Voltage (VEBO) | 10V |
| Height | 1mm |
| Lead Free | Lead Free |
| Length | 2.2mm |
| Max Breakdown Voltage | 50V |
| Max Collector Current | 100mA |
| Max Operating Temperature | 150°C |
| Min Operating Temperature | -65°C |
| Max Power Dissipation | 300mW |
| Mount | Surface Mount |
| Package Quantity | 1 |
| Packaging | Cut Tape |
| Reach SVHC Compliant | No |
| Width | 1.35mm |
| Zener Voltage | 5.1V |
| RoHS | Compliant |
Download the complete datasheet for NXP PUMH13115 to view detailed technical specifications.
The embedded preview will load automatically when this section scrolls into view.
